宝可梦任天堂官方(任天堂宝可梦图鉴)

2008年8月12日根据国家知识产权局公布的内容,任天堂公司于上月在中国申请注册了一系列宝可梦商标。

其中包括《宝可梦 走!》、《宝可梦加傲乐》等。目前该商标仍处于‘待受理’状态,无法查询其详情。此举可能暗示任天堂有意提交《Pockmon Go!》等作品。

宝可梦任天堂官方(任天堂宝可梦图鉴)

截至目前,任天堂并未宣布是否会在国内推出《Pokemon Go!》对应的宝可梦系列作品。不排除任天堂注册这一系列商标进行品牌保护的可能性。

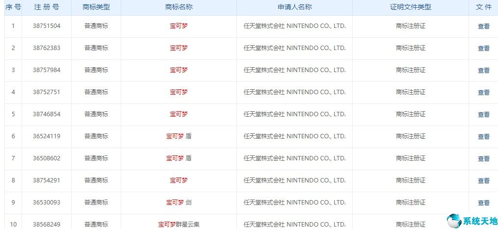
任天堂之前申请了大量的《宝可梦》商标,包括《剑盾》和《大集结》系列。

宝可梦任天堂官方(任天堂宝可梦图鉴)

此外,《宝可梦 走!》建立了相应的百度百科等内容。任天堂尚未给出回应。

免责声明:本站所有文章内容,图片,视频等均是来源于用户投稿和互联网及文摘转载整编而成,不代表本站观点,不承担相关法律责任。其著作权各归其原作者或其出版社所有。如发现本站有涉嫌抄袭侵权/违法违规的内容,侵犯到您的权益,请在线联系站长,一经查实,本站将立刻删除。

本文来自网络,若有侵权,请联系删除,如若转载,请注明出处:https://www.freetrip88.com/baike/332889.html

      
上一篇 2023-12-05
相关推荐